垂詢電話:15369173235


一、產品概述
SYD型壓濾機專用入料泵是由我公司結合各壓濾機生產廠家及使用現場的實際工況,精心設計開發的新- - 代無泄漏壓濾機專用泵系列,該產品廣泛應用于石油、化工、稀土冶煉、淀粉、制藥、農藥、染料、油漆、造紙、電鍍、電力、食品等行業的固液分離工藝中。
該系列產品采用獨特的水力設計及雙級葉輪的結構,確保了其性能曲線比一般UHB、 HFTK等普通離心泵改造而成的壓濾機入料泵更陡,更適合壓濾機在入料時的特殊使用工況。
二、創新技術特點
1.獨特的密封裝置采用負壓技術加組合密封裝置,在壓力不斷增加而流量逐漸減少的情況下,密封組件不承受壓力,尤其是在后期壓榨期時因泵在大壓力下,其創新密封結構設計,保證軸封處基本達到無泄漏。
2.雙級開式葉輪的結構設計
該泵采用雙主泵體,雙主葉輪的結構設計,徹底解決了單泵體單葉輪泵在入料初期時振動和噪音過大、性能曲線平坦、葉輪流道窄、通過性能差等缺點非常適合壓濾機入料時應阻力的變化來實現大流量低壓力喂料與小流量、高壓力過濾的要求。
該泵雙葉輪均采用半開式葉輪,流道寬、通氣性好,大大增加了污水污物的通過能力,確保在輸送含有固體顆粒的漿料時無堵塞,顆粒也不會卡在葉輪泵體和泵蓋之間,從而彌補了一般離心泵所不能達到的效果。
4.應用范圍廣
該產品可采用鑄鋼、不銹鋼、氟塑料等多種材質制造,可適合不同的腐蝕性與非腐蝕性介質需求,用戶選用的范圍更廣。
5.葉輪與泵壁的間隙可調
獨特的可移動軸承箱設計,用戶在長時間使用后,因葉輪與泵壁磨損間隙過大造成壓力下降時,可通過調整葉輪與泵壁的間隙來繼續保障水泵的高壓力,提高了水泵的使用壽命、延長了水泵大修周期,克服了傳統單葉輪壓濾泵因磨損壓力下降快,經常更換葉輪使用壽命短等缺點。
三、適用崗位
1.本系列泵可輸送100C溫度以內的各類腐蝕性和非腐蝕性清液和料漿及各類壓濾機加壓喂料用泵。例如:有色金屬的鋅、銅、鉆、鎳、錳等濕法冶煉;淀粉、造紙工藝中的污水、污泥的壓濾機入料,冶煉工藝的壓濾機配用泵、礦山選礦、非金屬礦產加工(鈦白粉、高嶺土等)工藝中的漿體輸送泵,環保產業中污泥、廢渣輸送泵,其它化工、染料制藥、食品生產工藝中的壓濾機入料泵。
2.長期逼壓運行(泵出口壓力高)輸送腐蝕性介質的崗位,如煙氣脫硫、大氣治理中的壓力噴淋泵、壓力沖洗泵等。
3.其它需要高壓力無堵塞、無泄漏等污水輸送的場合。
四、型號意義

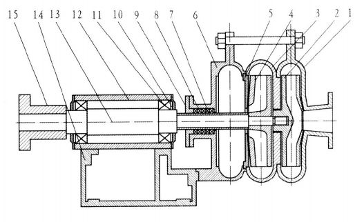
五、泵結構圖

1、泵體II 2、葉輪II 3、泵體I 4、葉輪I 5、護板 6、進水泵體
7、填料軸套 8、填料 9、填料壓蓋 10、軸承壓蓋 11、軸承 12、軸承體
13、軸 14、托架 15、泵聯軸器
六、性能參數
| 型號/項次 | 流量 (m/h) | 揚程 (m) | 轉速 (r/min) | 配帶功率 (Kw) |
| 50SYD40-5.5 | 12.5 | 40 | 2900 | 5.5 |
| 50SYD50-7.5 | 50 | 2900 | 7.5 | |
| 50SYD60-11 | 60 | 2900 | 11 | |
| 65SYD40-11 | 30 | 40 | 2900 | 11 |
| 65SYD60-15 | 60 | 2900 | 15 | |
| 65SYD70-18.5 | 70 | 2900 | 18.5 | |
| 65SYD80-22 | 80 | 2900 | 22 |
七、主要性能曲線

